|
服饰出售,拼多多女装店铺 诚意出售 欢迎咨询
|
|||
|
消保金 : 2000(不需要退还)
技术年费 : 0
4500市场估价 : 4500
|
店铺标签 : 无扣分
|
||
网店编号:S0FBC806BD26 | ||||
| 主营类目:服饰 | 所属平台: 拼多多 |
|||
| 商城类型:专营店 | 商标类型:无商标(第1类) | |||
| 收藏人气:0 | 认证类型:企业执照 | |||
| 商标所有人:1 | 注册资金:0元 | |||
| 创店时间:2025年 | 商标类型: 无商标(第1类) | 纳税类型:一般纳税人 | 所属省市:江西省鹰潭市 | 所在地区:华东地区 |
| 店铺资质: | 店铺等级: | |||
| 一级类目: | ||||
| 一般违规:0分严重违规0分售假违规0分 | ||||
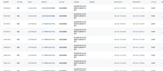
店铺截图
卖家描述
宝贝与描述相符
卖家的服务态度
卖家的发货速度
交易流程
常见问题
换一批
6000
8000
4500