复制成功!快去微信添加好友吧!
华北地区服务大类天猫旗舰店出售/转让,本地化生活,多类目老店
消保金 : 100000(不需要退还) 技术年费 : 0
10万市场估价 : 12万
店铺标签 : 盈利店铺
网店编号:S0F35860DBF0
主营类目:服务大类 商城类型:旗舰店
商标所有人:公司 注册资金:0元
创店时间:2025年 商标类型: R标(第45类) 纳税类型:小规模纳税人 所属省市:河北省秦皇岛市 所在地区:华北地区
一级类目:
一般违规:0分严重违规0分售假违规0分

店铺截图

卖家描述

卖家描述
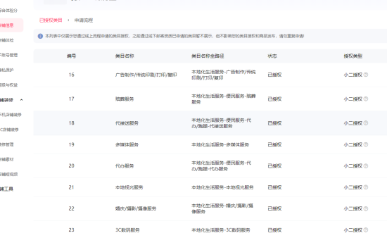
华北地区服务大类天猫旗舰店出售/转让,该店铺主营类目为服务大类,已开通本地化生活服务,45,小规模纳税人,盈利店铺,本地化生活,多类目老店
网店动态信息

宝贝与描述相符

卖家的服务态度

卖家的发货速度

交易流程

常见问题

- 同类型店铺推荐 -刷新换一批