复制成功!快去微信添加好友吧!
华东地区服饰天猫旗舰店出售/转让,店铺诚意出售,女装老店
消保金 : 0(不需要退还) 技术年费 : 0
2万市场估价 : 2.4万
店铺标签 : 本人出售
网店编号:S0F72EE231D1
主营类目:服饰 商城类型:旗舰店
商标所有人:公司 注册资金:120万元
创店时间:2025年 商标类型: R标(第25类) 纳税类型:小规模纳税人 所属省市:福建省莆田市 所在地区:华东地区
一级类目:
一般违规:0分严重违规0分售假违规0分

店铺截图

卖家描述

卖家描述
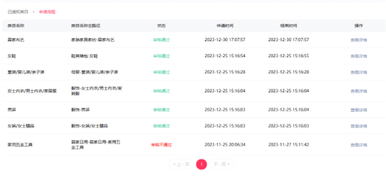
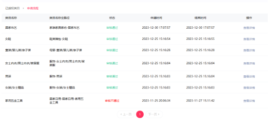
华东地区服饰天猫旗舰店出售/转让,该店铺主营类目为服饰,已开通女装女士精品,男装,女士内衣男士内衣家居服,25,小规模纳税人,本人出售,店铺诚意出售,女装老店
网店动态信息

宝贝与描述相符

卖家的服务态度

卖家的发货速度

交易流程

常见问题

- 同类型店铺推荐 -刷新换一批