复制成功!快去微信添加好友吧!
江浙沪地区居家日用,家装家饰天猫旗舰店出售/转让,江浙沪地区居家布艺节庆老店
消保金 : 50000(需要退还) 技术年费 : 0
1万市场估价 : 1万
店铺标签 : 好评率高
网店编号:S0FC9734EA2E
主营类目:居家日用 商城类型:旗舰店
商标所有人:公司 注册资金:1元
创店时间:2025年 商标类型: R标 纳税类型:一般纳税人 所属省市:浙江省金华市 所在地区:江浙沪地区
一级类目:
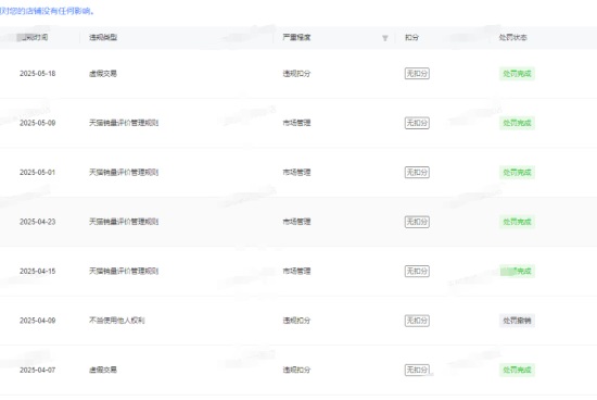
一般违规:0分严重违规0分售假违规0分

店铺截图

卖家描述

卖家描述
江浙沪地区居家日用,家装家饰天猫旗舰店出售/转让,该店铺主营类目为居家日用,家装家饰,已开通节庆用品礼品,居家日用,居家布艺,35121628,一般纳税人,好评率高,江浙沪地区居家布艺节庆老店
网店动态信息

宝贝与描述相符

卖家的服务态度

卖家的发货速度

交易流程

常见问题

- 同类型店铺推荐 -刷新换一批