复制成功!快去微信添加好友吧!
华北地区居家日用,家装家饰天猫旗舰店出售/转让,收纳整理住宅汽车卖场旗舰店
消保金 : 150000(需要退还) 技术年费 : 1
7.5万市场估价 : 9万
店铺标签 : 优质店铺本人出售
网店编号:S0FC9E1BB99F
主营类目:居家日用 商城类型:旗舰店
商标所有人:1 注册资金:1000万元
创店时间:2025年 商标类型: R标(第35类) 纳税类型:一般纳税人 所属省市:山西省吕梁市 所在地区:华北地区
一级类目:
一般违规:0分严重违规0分售假违规0分

店铺截图

卖家描述

卖家描述
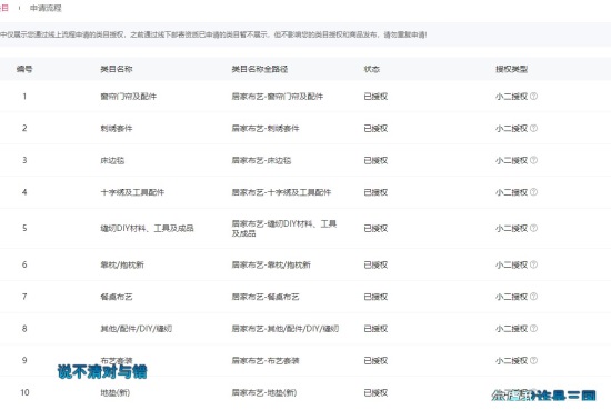
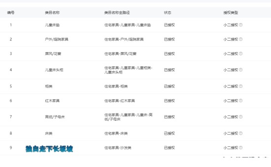
华北地区居家日用,家装家饰天猫旗舰店出售/转让,该店铺主营类目为居家日用,家装家饰,已开通家庭个人清洁工具,宠物宠物食品及用品,住宅家具,35,一般纳税人,优质店铺,本人出售,收纳整理住宅汽车卖场旗舰店
网店动态信息

宝贝与描述相符

卖家的服务态度

卖家的发货速度

交易流程

常见问题

- 同类型店铺推荐 -刷新换一批