复制成功!快去微信添加好友吧!
江浙沪地区化妆品,母婴,居家日用天猫旗舰店出售/转让,天猫老店美容婴童节庆类目
消保金 : 50000(需要退还) 技术年费 : 1
2万市场估价 : 2.4万
店铺标签 : 可当面交易无虚拟占比盈利店铺
网店编号:S103D6005B3D
主营类目:化妆品 商城类型:旗舰店
商标所有人:公司 注册资金:1元
创店时间:2025年 商标类型: R标(第3类,第16类) 纳税类型:小规模纳税人 所属省市:江苏省南京市 所在地区:江浙沪地区
一级类目:
一般违规:0分严重违规0分售假违规0分

店铺截图

卖家描述

卖家描述
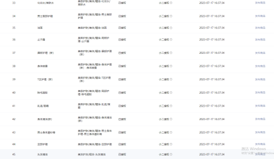
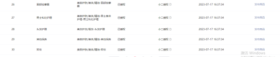
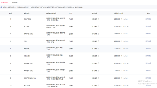
江浙沪地区化妆品,母婴,居家日用天猫旗舰店出售/转让,该店铺主营类目为化妆品,母婴,居家日用,已开通美容护肤美体精油,婴童用品,孕妇装孕产妇用品营养,163,小规模纳税人,可当面交易,无虚拟占比,盈利店铺,天猫老店美容婴童节庆类目
网店动态信息

宝贝与描述相符

卖家的服务态度

卖家的发货速度

交易流程

常见问题

- 同类型店铺推荐 -刷新换一批