复制成功!快去微信添加好友吧!
华东地区服饰,鞋类箱包天猫旗舰店出售/转让,男女鞋男女装服饰配件老店出售
消保金 : 50000(需要退还) 技术年费 : 0
1万市场估价 : 1万
店铺标签 : 可当面交易优质店铺
网店编号:S104676AA92C
主营类目:服饰 商城类型:旗舰店
商标所有人:公司 注册资金:0元
创店时间:2025年 商标类型: R标(第25类) 纳税类型:小规模纳税人 所属省市:福建省泉州市 所在地区:华东地区
一级类目:
一般违规:0分严重违规0分售假违规0分

店铺截图

卖家描述

卖家描述
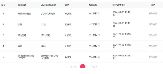
华东地区服饰,鞋类箱包天猫旗舰店出售/转让,该店铺主营类目为服饰,鞋类箱包,已开通女鞋,流行男鞋,服饰配件皮带帽子围巾,25,小规模纳税人,可当面交易,优质店铺,男女鞋男女装服饰配件老店出售
网店动态信息

宝贝与描述相符

卖家的服务态度

卖家的发货速度

交易流程

常见问题

- 同类型店铺推荐 -刷新换一批