复制成功!快去微信添加好友吧!
华南地区食品天猫旗舰店出售/转让,茶叶旗舰店
消保金 : 0(不需要退还) 技术年费 : 0
2万市场估价 : 2.4万
店铺标签 : 好评率高盈利店铺优质店铺
网店编号:S10471C21BF5
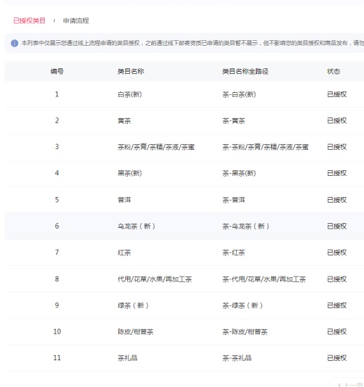
主营类目:食品 商城类型:旗舰店
商标所有人:公司 注册资金:100万元
创店时间:2025年 商标类型: R标(第30类) 纳税类型:小规模纳税人 所属省市:广西南宁市 所在地区:华南地区
一级类目:
一般违规:0分严重违规0分售假违规0分

店铺截图

卖家描述

卖家描述
华南地区食品天猫旗舰店出售/转让,该店铺主营类目为食品,已开通茶,30,小规模纳税人,好评率高,盈利店铺,优质店铺,茶叶旗舰店
网店动态信息

宝贝与描述相符

卖家的服务态度

卖家的发货速度

交易流程

常见问题

- 同类型店铺推荐 -刷新换一批