复制成功!快去微信添加好友吧!
华东地区食品天猫旗舰店出售/转让,茶叶旗舰店老店
消保金 : 0(不需要退还) 技术年费 : 0
1.2万市场估价 : 1.44万
店铺标签 : 本人出售
网店编号:S106A5AB6772
主营类目:食品 商城类型:旗舰店
商标所有人:公司 注册资金:0元
创店时间:2025年 商标类型: R标(第30类) 纳税类型:一般纳税人 所属省市:江西省赣州市 所在地区:华东地区
一级类目:
一般违规:0分严重违规0分售假违规0分

店铺截图

卖家描述

卖家描述
华东地区食品天猫旗舰店出售/转让,该店铺主营类目为食品,已开通茶,咖啡麦片冲饮,30,一般纳税人,本人出售,茶叶旗舰店老店
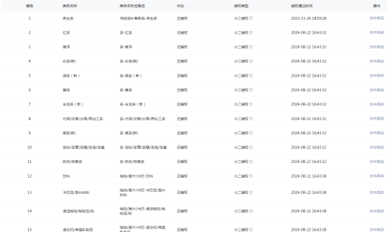
网店动态信息

宝贝与描述相符

卖家的服务态度

卖家的发货速度

交易流程

常见问题

- 同类型店铺推荐 -刷新换一批