复制成功!快去微信添加好友吧!
华北地区居家日用天猫旗舰店出售/转让,天猫家居百货类目老店主体变更出售价格美丽
消保金 : 0(不需要退还) 技术年费 : 0
6000市场估价 : 6000
店铺标签 : 无扣分收藏高动态飘红好评率高
网店编号:S10742DE7574
主营类目:居家日用 商城类型:旗舰店
商标所有人:1 注册资金:0元
创店时间:2025年 商标类型: R标(第1类) 纳税类型:小规模纳税人 所属省市:北京市城区 所在地区:华北地区
一级类目:
一般违规:0分严重违规0分售假违规0分

店铺截图

卖家描述

卖家描述
华北地区居家日用天猫旗舰店出售/转让,该店铺主营类目为居家日用,已开通居家日用,1,小规模纳税人,无扣分,收藏高,动态飘红,好评率高,天猫家居百货类目老店主体变更出售价格美丽
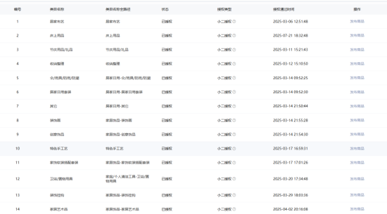
网店动态信息

宝贝与描述相符

卖家的服务态度

卖家的发货速度

交易流程

常见问题

- 同类型店铺推荐 -刷新换一批