复制成功!快去微信添加好友吧!
江浙沪地区居家日用,家装家饰,母婴天猫旗舰店出售/转让,优质店铺,欢迎咨询
消保金 : 50000(需要退还) 技术年费 : 3万
3万市场估价 : 3.6万
店铺标签 : 优质店铺
网店编号:669550439660
主营类目:居家日用 商城类型:旗舰店
商标所有人:公司 注册资金:105万元
创店时间:2022年 商标类型: R标(第21类,第24类,第25类,第31类) 纳税类型:一般纳税人 所属省市:浙江省温州市 所在地区:江浙沪地区
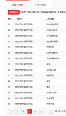
一级类目: 宠物/宠物食品及用品,厨房/烹饪用具,家装主材,居家布艺,家居饰品,模玩/动漫/周边/COS/桌游,婴童用品,餐饮具,玩具/童车/益智/积木/模型
一般违规:0分严重违规0分售假违规0分

店铺截图

卖家描述

卖家描述
江浙沪地区居家日用,家装家饰,母婴天猫旗舰店出售/转让,该店铺主营类目为居家日用,家装家饰,母婴,已开通宠物宠物食品及用品,厨房烹饪用具,家装主材,21242531,一般纳税人,优质店铺,优质店铺,欢迎咨询
网店动态信息

宝贝与描述相符

卖家的服务态度

卖家的发货速度

交易流程

常见问题

- 同类型店铺推荐 -刷新换一批