复制成功!快去微信添加好友吧!
华东地区家装家饰,3C数码,家用电器天猫旗舰店出售/转让,带绿通类目,诚心出售
消保金 : 50000(需要退还) 技术年费 : 6万
2.3万市场估价 : 2.76万
店铺标签 : 无扣分动态飘红
网店编号:S04BC1CC4970
主营类目:家装家饰 商城类型:旗舰店
商标所有人:公司 注册资金:130万元
创店时间:2023年 商标类型: R标(第6类,第7类,第9类,第10类,第11类,第12类,第21类) 纳税类型:一般纳税人 所属省市:福建省泉州市 所在地区:华东地区
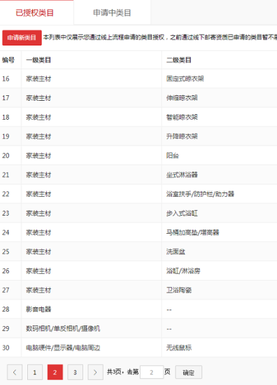
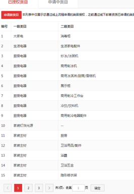
一级类目: 五金/工具,家装主材,家装灯饰光源,网络设备/网络相关,电脑硬件/显示器/电脑周边,数码相机/单反相机/摄像机,生活电器,大家电,厨房电器,影音电器
一般违规:0分严重违规0分售假违规0分

店铺截图

卖家描述

卖家描述
华东地区家装家饰,3C数码,家用电器天猫旗舰店出售/转让,该店铺主营类目为家装家饰,3C数码,家用电器,已开通五金工具,家装主材,家装灯饰光源,67910111221,一般纳税人,无扣分,动态飘红,带绿通类目,诚心出售
网店动态信息

宝贝与描述相符

卖家的服务态度

卖家的发货速度

交易流程

常见问题

- 同类型店铺推荐 -刷新换一批