复制成功!快去微信添加好友吧!
华中地区食品天猫旗舰店出售/转让,华中地区坚果咖啡麦片水产旗舰店
消保金 : 50000(需要退还) 技术年费 : 3万
2万市场估价 : 2.4万
店铺标签 : 本人出售
网店编号:P059CC91BDC1
主营类目:食品 商城类型:旗舰店
商标所有人:公司 注册资金:10万元
创店时间:2023年 商标类型: R标(第29类) 纳税类型:一般纳税人 所属省市:湖北省十堰市 所在地区:华中地区
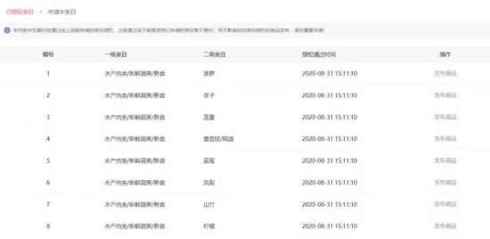
一级类目: 水产肉类/蛋类/新鲜果蔬/冰淇淋,咖啡/麦片/冲饮,零食/坚果/特产
一般违规:0分严重违规0分售假违规0分

店铺截图

卖家描述

卖家描述
华中地区食品天猫旗舰店出售/转让,该店铺主营类目为食品,已开通水产肉类蛋类新鲜果蔬冰淇淋,咖啡麦片冲饮,零食坚果特产,29,一般纳税人,本人出售,华中地区坚果咖啡麦片水产旗舰店
网店动态信息

宝贝与描述相符

卖家的服务态度

卖家的发货速度

交易流程

常见问题

- 同类型店铺推荐 -刷新换一批