复制成功!快去微信添加好友吧!
华南地区家装家饰,家用电器天猫旗舰店出售/转让,电子电工旗舰店
消保金 : 50000(需要退还) 技术年费 : 3万
1.2万市场估价 : 1.44万
店铺标签 : 盈利店铺优质店铺
网店编号:S060B4EDD1E6
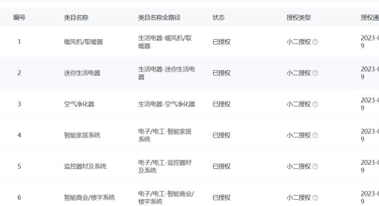
主营类目:家装家饰 商城类型:旗舰店
商标所有人:公司 注册资金:100万元
创店时间:2023年 商标类型: R标(第7类) 纳税类型:一般纳税人 所属省市:广东省深圳市 所在地区:华南地区
一级类目: 居家日用
一般违规:0分严重违规0分售假违规0分

店铺截图

卖家描述

卖家描述
华南地区家装家饰,家用电器天猫旗舰店出售/转让,该店铺主营类目为家装家饰,家用电器,已开通电子电工,生活电器,7,一般纳税人,盈利店铺,优质店铺,电子电工旗舰店
网店动态信息

宝贝与描述相符

卖家的服务态度

卖家的发货速度

交易流程

常见问题

- 同类型店铺推荐 -刷新换一批