复制成功!快去微信添加好友吧!
江浙沪地区家装家饰天猫旗舰店出售/转让,鲜花速递多类目旗舰店
消保金 : 50000(需要退还) 技术年费 : 6万
1万市场估价 : 1万
店铺标签 : 无虚拟占比盈利店铺
网店编号:S079D39B370C
主营类目:家装家饰 商城类型:旗舰店
商标所有人:公司 注册资金:100万元
创店时间:2023年 商标类型: R标(第31类) 纳税类型:一般纳税人 所属省市:江苏省宿迁市 所在地区:江浙沪地区
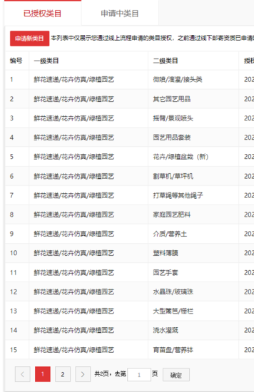
一级类目: 鲜花速递/花卉仿真/绿植园艺
一般违规:0分严重违规0分售假违规0分

店铺截图

卖家描述

卖家描述
江浙沪地区家装家饰天猫旗舰店出售/转让,该店铺主营类目为家装家饰,已开通鲜花速递花卉仿真绿植园艺,31,一般纳税人,无虚拟占比,盈利店铺,鲜花速递多类目旗舰店
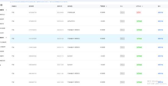
网店动态信息

宝贝与描述相符

卖家的服务态度

卖家的发货速度

交易流程

常见问题

- 同类型店铺推荐 -刷新换一批