复制成功!快去微信添加好友吧!
江浙沪地区居家日用,家装家饰,母婴天猫旗舰店出售/转让,办公住宅婴童用品多类目旗舰店,诚意出售
消保金 : 0(不需要退还) 技术年费 : 6万
2.5万市场估价 : 3万
店铺标签 : 本人出售
网店编号:S0854F62294D
主营类目:居家日用 商城类型:旗舰店
商标所有人:公司 注册资金:0元
创店时间:2023年 商标类型: R标(第21类) 纳税类型:一般纳税人 所属省市:浙江省金华市 所在地区:江浙沪地区
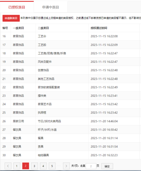
一级类目: 床上用品,居家布艺,住宅家具,商业/办公家具,婴童用品,居家日用,洗护清洁剂/卫生巾/纸/香薰,收纳整理,厨房/烹饪用具
一般违规:0分严重违规0分售假违规0分

店铺截图

卖家描述

卖家描述
江浙沪地区居家日用,家装家饰,母婴天猫旗舰店出售/转让,该店铺主营类目为居家日用,家装家饰,母婴,已开通床上用品,居家布艺,住宅家具,21,一般纳税人,本人出售,办公住宅婴童用品多类目旗舰店,诚意出售
网店动态信息

宝贝与描述相符

卖家的服务态度

卖家的发货速度

交易流程

常见问题

- 同类型店铺推荐 -刷新换一批