复制成功!快去微信添加好友吧!
华东地区保健品及医药,食品天猫旗舰店出售/转让,本人出售诚心出售
消保金 : 50000(需要退还) 技术年费 : 3万
2.5万市场估价 : 3万
店铺标签 : 本人出售
网店编号:S088EBF5C175
主营类目:保健品及医药 商城类型:旗舰店
商标所有人:公司 注册资金:300万元
创店时间:2023年 商标类型: R标(第5类) 纳税类型:一般纳税人 所属省市:江西省赣州市 所在地区:华东地区
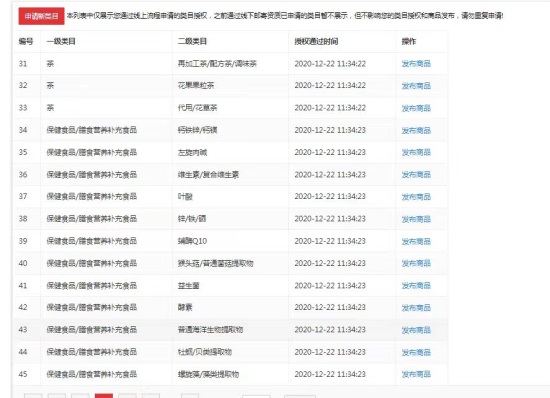
一级类目: 保健食品/膳食营养补充食品,传统滋补营养品,粮油米面/南北干货/调味品
一般违规:0分严重违规0分售假违规0分

店铺截图

卖家描述

卖家描述
华东地区保健品及医药,食品天猫旗舰店出售/转让,该店铺主营类目为保健品及医药,食品,已开通保健食品膳食营养补充食品,传统滋补营养品,粮油米面南北干货调味品,5,一般纳税人,本人出售,本人出售诚心出售
网店动态信息

宝贝与描述相符

卖家的服务态度

卖家的发货速度

交易流程

常见问题

- 同类型店铺推荐 -刷新换一批