复制成功!快去微信添加好友吧!
江浙沪地区服务大类天猫旗舰店出售/转让,教育培训学历教育自学考试诚心出售
消保金 : 0(不需要退还) 技术年费 : 3万
11.2万市场估价 : 13.44万
店铺标签 : 本人出售
网店编号:S08BECBF2063
主营类目:服务大类 商城类型:旗舰店
商标所有人:第三方 注册资金:300万元
创店时间:2023年 商标类型: R标(第41类) 纳税类型:一般纳税人 所属省市:江苏省南京市 所在地区:江浙沪地区
一级类目: 教育培训
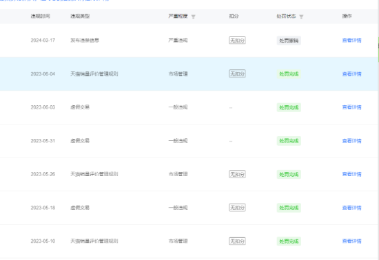
一般违规:0分严重违规0分售假违规0分

店铺截图

卖家描述

卖家描述
江浙沪地区服务大类天猫旗舰店出售/转让,该店铺主营类目为服务大类,已开通教育培训,41,一般纳税人,本人出售,教育培训学历教育自学考试诚心出售
网店动态信息

宝贝与描述相符

卖家的服务态度

卖家的发货速度

交易流程

常见问题

- 同类型店铺推荐 -刷新换一批