复制成功!快去微信添加好友吧!
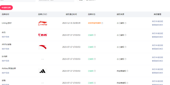
华东地区运动户外天猫专营店出售/转让,李宁乔丹安踏阿迪达斯狄马斯
消保金 : 100000(需要退还) 技术年费 : 6万
30万市场估价 : 36万
店铺标签 : 本人出售
网店编号:S09325248418
主营类目:运动户外 商城类型:专营店
商标所有人:公司 注册资金:0元
创店时间:2024年 商标类型: R标 纳税类型:一般纳税人 所属省市:福建省福州市 所在地区:华东地区
一级类目: 运动鞋new
一般违规:0分严重违规0分售假违规0分

店铺截图

卖家描述

卖家描述
华东地区运动户外天猫专营店出售/转让,该店铺主营类目为运动户外,已开通运动鞋new,专营店,一般纳税人,本人出售,李宁乔丹安踏阿迪达斯狄马斯
网店动态信息

宝贝与描述相符

卖家的服务态度

卖家的发货速度

交易流程

常见问题

- 同类型店铺推荐 -刷新换一批