复制成功!快去微信添加好友吧!
华南地区汽车及配件天猫旗舰店出售/转让,车品汽车零部件全开旗舰店
消保金 : 50000(需要退还) 技术年费 : 3万
2万市场估价 : 2.4万
店铺标签 : 盈利店铺优质店铺
网店编号:S09D678DCABA
主营类目:汽车及配件 商城类型:旗舰店
商标所有人:公司 注册资金:1000万元
创店时间:2024年 商标类型: R标 纳税类型:一般纳税人 所属省市:广东省广州市 所在地区:华南地区
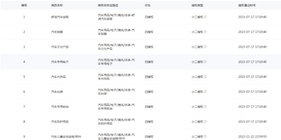
一级类目: 汽车用品/电子/清洗/改装,汽车零部件/养护/美容/维保
一般违规:0分严重违规0分售假违规0分

店铺截图

卖家描述

卖家描述
华南地区汽车及配件天猫旗舰店出售/转让,该店铺主营类目为汽车及配件,已开通汽车用品电子清洗改装,汽车零部件养护美容维保,391112,一般纳税人,盈利店铺,优质店铺,车品汽车零部件全开旗舰店
网店动态信息

宝贝与描述相符

卖家的服务态度

卖家的发货速度

交易流程

常见问题

- 同类型店铺推荐 -刷新换一批