复制成功!快去微信添加好友吧!
华中地区居家日用,家装家饰天猫旗舰店出售/转让,名字好听,欢迎咨询
消保金 : 50000(需要退还) 技术年费 : 6万
2万市场估价 : 2.4万
店铺标签 : 无扣分
网店编号:S09FD35FFD5A
主营类目:居家日用 商城类型:旗舰店
商标所有人:公司 注册资金:0元
创店时间:2024年 商标类型: R标(第21类) 纳税类型:一般纳税人 所属省市:湖北省武汉市 所在地区:华中地区
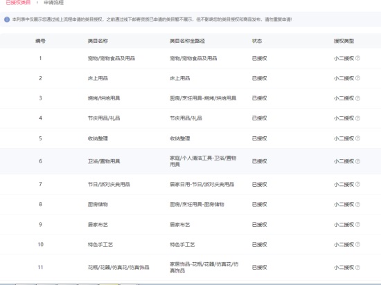
一级类目: 宠物/宠物食品及用品,收纳整理,家庭/个人清洁工具,居家日用,节庆用品/礼品,床上用品,居家布艺,特色手工艺,家居饰品,厨房/烹饪用具
一般违规:0分严重违规0分售假违规0分

店铺截图

卖家描述

卖家描述
华中地区居家日用,家装家饰天猫旗舰店出售/转让,该店铺主营类目为居家日用,家装家饰,已开通宠物宠物食品及用品,收纳整理,家庭个人清洁工具,21,一般纳税人,无扣分,名字好听,欢迎咨询
网店动态信息

宝贝与描述相符

卖家的服务态度

卖家的发货速度

交易流程

常见问题

- 同类型店铺推荐 -刷新换一批