复制成功!快去微信添加好友吧!
华东地区服饰,母婴天猫旗舰店出售/转让,男装女装男鞋旗舰店
消保金 : 50000(需要退还) 技术年费 : 6万
2000市场估价 : 2000
店铺标签 : 优质店铺本人出售
网店编号:S0A9EEA955D2
主营类目:服饰 商城类型:旗舰店
商标所有人:公司 注册资金:100万元
创店时间:2024年 商标类型: R标(第25类) 纳税类型:一般纳税人 所属省市:福建省莆田市 所在地区:华东地区
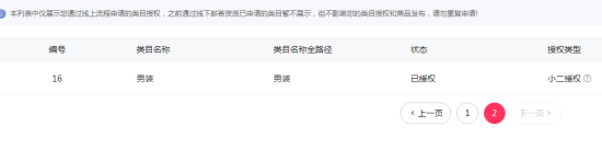
一级类目: 孕妇装/孕产妇用品/营养,男装,女装/女士精品,女士内衣/男士内衣/家居服
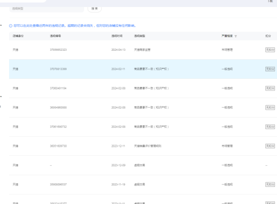
一般违规:4.9分严重违规0分售假违规0分

店铺截图

卖家描述

卖家描述
华东地区服饰,母婴天猫旗舰店出售/转让,该店铺主营类目为服饰,母婴,已开通孕妇装孕产妇用品营养,男装,女装女士精品,25,一般纳税人,优质店铺,本人出售,男装女装男鞋旗舰店
网店动态信息

宝贝与描述相符

卖家的服务态度

卖家的发货速度

交易流程

常见问题

- 同类型店铺推荐 -刷新换一批