复制成功!快去微信添加好友吧!
华北地区家装家饰,居家日用天猫专卖店出售/转让,诚心出售,欢迎咨询
消保金 : 50000(需要退还) 技术年费 : 6万
5000市场估价 : 5000
店铺标签 : 无扣分
网店编号:S0B126ABE2E9
主营类目:家装家饰 商城类型:专卖店
商标所有人:授权 注册资金:100万元
创店时间:2024年 商标类型: -(第28类) 纳税类型:一般纳税人 所属省市:北京市城区 所在地区:华北地区
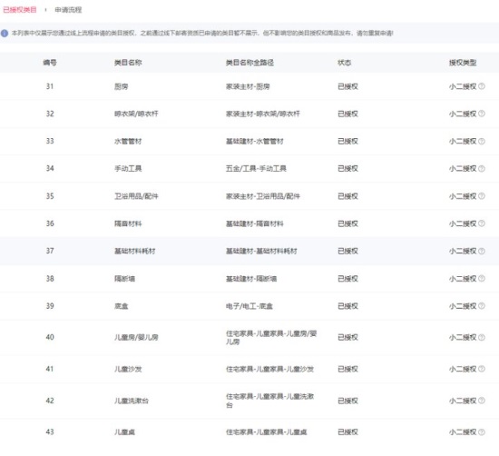
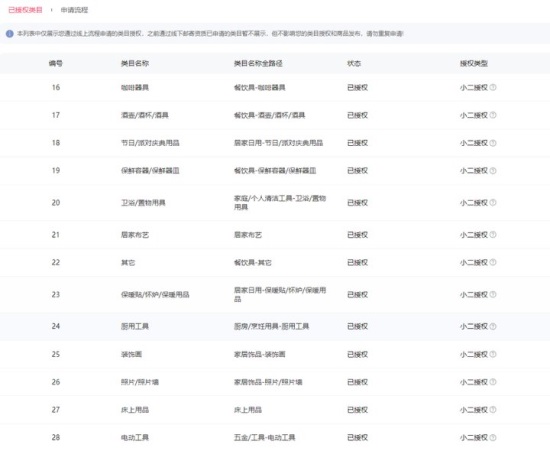
一级类目: 收纳整理,居家日用,节庆用品/礼品,家装灯饰光源,特色手工艺,居家布艺,床上用品,厨房/烹饪用具,住宅家具,餐饮具,家居饰品,家装主材,基础建材,电子/电工,五金/工具
一般违规:0分严重违规0分售假违规0分

店铺截图

卖家描述

卖家描述
华北地区家装家饰,居家日用天猫专卖店出售/转让,该店铺主营类目为家装家饰,居家日用,已开通收纳整理,居家日用,节庆用品礼品,28,一般纳税人,无扣分,诚心出售,欢迎咨询
网店动态信息

宝贝与描述相符

卖家的服务态度

卖家的发货速度

交易流程

常见问题

- 同类型店铺推荐 -刷新换一批