复制成功!快去微信添加好友吧!
江浙沪地区3C数码天猫专卖店出售/转让,名字好听,欢迎咨询
消保金 : 50000(需要退还) 技术年费 : 3万
2万市场估价 : 2.4万
店铺标签 : 无扣分
网店编号:S0B4C83C43A6
主营类目:3C数码 商城类型:专卖店
商标所有人:公司 注册资金:0元
创店时间:2024年 商标类型: R标(第9类) 纳税类型:一般纳税人 所属省市:浙江省湖州市 所在地区:江浙沪地区
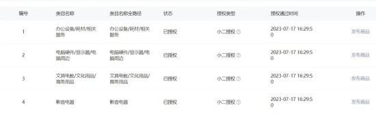
一级类目: 电脑硬件/显示器/电脑周边,办公设备/耗材/相关服务,文具电教/文化用品/商务用品
一般违规:0分严重违规0分售假违规0分

店铺截图

卖家描述

卖家描述
江浙沪地区3C数码天猫专卖店出售/转让,该店铺主营类目为3C数码,已开通电脑硬件显示器电脑周边,办公设备耗材相关服务,文具电教文化用品商务用品,9,一般纳税人,无扣分,名字好听,欢迎咨询
网店动态信息

宝贝与描述相符

卖家的服务态度

卖家的发货速度

交易流程

常见问题

- 同类型店铺推荐 -刷新换一批