复制成功!快去微信添加好友吧!
华中地区保健品及医药,食品天猫旗舰店出售/转让,普通膳食营养食品
消保金 : 50000(需要退还) 技术年费 : 3万
1.5万市场估价 : 1.8万
店铺标签 : 无扣分可当面交易本人出售
网店编号:S0BCA1395CD7
主营类目:保健品及医药 商城类型:旗舰店
商标所有人:公司 注册资金:0元
创店时间:2024年 商标类型: R标 纳税类型:一般纳税人 所属省市:湖南省长沙市 所在地区:华中地区
一级类目:
一般违规:0分严重违规0分售假违规0分

店铺截图

卖家描述

卖家描述
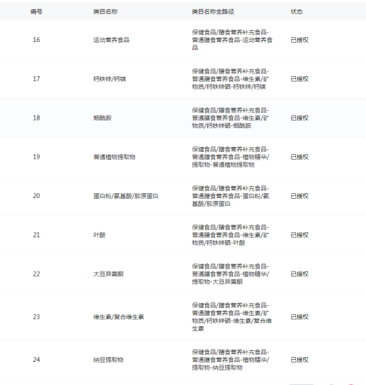
华中地区保健品及医药,食品天猫旗舰店出售/转让,该店铺主营类目为保健品及医药,食品,已开通保健食品膳食营养补充食品,茶,530,一般纳税人,无扣分,可当面交易,本人出售,普通膳食营养食品
网店动态信息

宝贝与描述相符

卖家的服务态度

卖家的发货速度

交易流程

常见问题

- 同类型店铺推荐 -刷新换一批