复制成功!快去微信添加好友吧!
江浙沪地区珠宝配饰,居家日用天猫旗舰店出售/转让,诚心出售,价格优美
消保金 : 0(需要退还) 技术年费 : 3万
2.5万市场估价 : 3万
店铺标签 : 优质店铺
网店编号:S0BEA61E1501
主营类目:珠宝配饰 商城类型:旗舰店
商标所有人:公司 注册资金:100万元
创店时间:2024年 商标类型: R标(第3类) 纳税类型:小规模纳税人 所属省市:浙江省金华市 所在地区:江浙沪地区
一级类目:
一般违规:0分严重违规0分售假违规0分

店铺截图

卖家描述

卖家描述
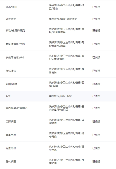
江浙沪地区珠宝配饰,居家日用天猫旗舰店出售/转让,该店铺主营类目为珠宝配饰,居家日用,已开通宠物宠物食品及用品,居家日用,3,小规模纳税人,优质店铺,诚心出售,价格优美
网店动态信息

宝贝与描述相符

卖家的服务态度

卖家的发货速度

交易流程

常见问题

- 同类型店铺推荐 -刷新换一批