复制成功!快去微信添加好友吧!
江浙沪地区母婴天猫旗舰店出售/转让,童装旗舰店,营业额做完,主体变更
消保金 : 0(不需要退还) 技术年费 : 6万
8000市场估价 : 8000
店铺标签 : 盈利店铺优质店铺
网店编号:S0BF3CCBBC4A
主营类目:母婴 商城类型:旗舰店
商标所有人:1 注册资金:1000万元
创店时间:2024年 商标类型: R标(第25类) 纳税类型:一般纳税人 所属省市:浙江省湖州市 所在地区:江浙沪地区
一级类目:
一般违规:0分严重违规0分售假违规0分

店铺截图

卖家描述

卖家描述
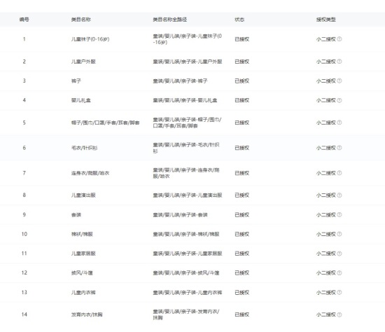
江浙沪地区母婴天猫旗舰店出售/转让,该店铺主营类目为母婴,已开通童装婴儿装亲子装,25,一般纳税人,盈利店铺,优质店铺,童装旗舰店,营业额做完,主体变更
网店动态信息

宝贝与描述相符

卖家的服务态度

卖家的发货速度

交易流程

常见问题

- 同类型店铺推荐 -刷新换一批