复制成功!快去微信添加好友吧!
华南地区运动户外天猫旗舰店出售/转让,户外垂钓装备旗舰店价格不贵
消保金 : 50000(需要退还) 技术年费 : 6万
1万市场估价 : 1万
店铺标签 : 可当面交易无虚拟占比
网店编号:S0C670188254
主营类目:运动户外 商城类型:旗舰店
商标所有人:公司 注册资金:1元
创店时间:2024年 商标类型: R标 纳税类型:一般纳税人 所属省市:广西南宁市 所在地区:华南地区
一级类目:
一般违规:0分严重违规0分售假违规0分

店铺截图

卖家描述

卖家描述
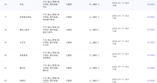
华南地区运动户外天猫旗舰店出售/转让,该店铺主营类目为运动户外,已开通户外登山野营旅行用品,28类25类3类,一般纳税人,可当面交易,无虚拟占比,户外垂钓装备旗舰店价格不贵
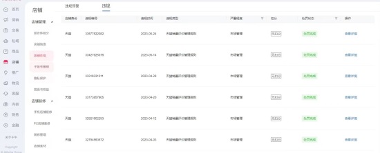
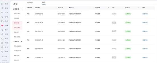
网店动态信息

宝贝与描述相符

卖家的服务态度

卖家的发货速度

交易流程

常见问题

- 同类型店铺推荐 -刷新换一批