复制成功!快去微信添加好友吧!
江浙沪地区居家日用天猫旗舰店出售/转让,餐饮具履约险名字好听卖家诚心出售
消保金 : 1000(需要退还) 技术年费 : 2万
2万市场估价 : 2.4万
店铺标签 : 无扣分
网店编号:S0CF3116E8FD
主营类目:居家日用 商城类型:旗舰店
商标所有人:公司 注册资金:0元
创店时间:2024年 商标类型: R标(第21类) 纳税类型:一般纳税人 所属省市:浙江省温州市 所在地区:江浙沪地区
一级类目:
一般违规:0分严重违规0分售假违规0分

店铺截图

卖家描述

卖家描述
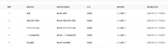
江浙沪地区居家日用天猫旗舰店出售/转让,该店铺主营类目为居家日用,已开通餐饮具,21,一般纳税人,无扣分,餐饮具履约险名字好听卖家诚心出售
网店动态信息

宝贝与描述相符

卖家的服务态度

卖家的发货速度

交易流程

常见问题

- 同类型店铺推荐 -刷新换一批