复制成功!快去微信添加好友吧!
华北地区24年家装家饰,居家日用天猫旗舰店出售/转让,家装家饰,居家日用多类目
消保金 : 0(不需要退还) 技术年费 : 1万
2万市场估价 : 2.4万
店铺标签 : 无扣分收藏高动态飘红
网店编号:S0D59722F374
主营类目:家装家饰 商城类型:旗舰店
商标所有人:公司 注册资金:0元
创店时间:2024年 商标类型: R标(第16类,第20类,第21类,第24类,第28类) 纳税类型:小规模纳税人 所属省市:山西省吕梁市 所在地区:华北地区
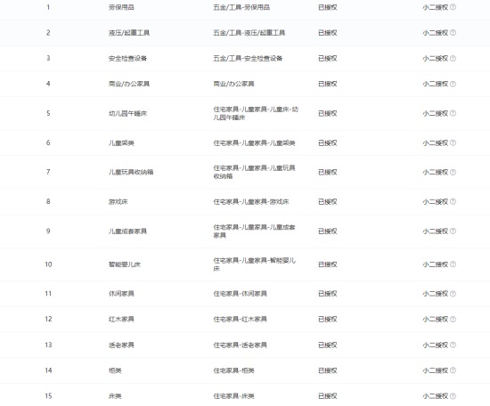
一级类目:
一般违规:0分严重违规0分售假违规0分

店铺截图

卖家描述

卖家描述
华北地区24年家装家饰,居家日用天猫旗舰店出售/转让,该店铺主营类目为家装家饰,居家日用,已开通居家日用,餐饮具,收纳整理,2124281620,小规模纳税人,无扣分,收藏高,动态飘红,家装家饰,居家日用多类目
网店动态信息

宝贝与描述相符

卖家的服务态度

卖家的发货速度

交易流程

常见问题

- 同类型店铺推荐 -刷新换一批