复制成功!快去微信添加好友吧!
华中地区04年保健品及医药天猫旗舰店出售/转让,天猫店铺欢迎咨询
消保金 : 0(不需要退还) 技术年费 : 0
1.8万市场估价 : 2.16万
店铺标签 : 优质店铺本人出售
网店编号:S0DB389541AA
主营类目:保健品及医药 商城类型:旗舰店
商标所有人:公司 注册资金:10万元
创店时间:2024年 商标类型: R标(第10类) 纳税类型:一般纳税人 所属省市:湖南省娄底市 所在地区:华中地区
一级类目:
一般违规:0分严重违规0分售假违规0分

店铺截图

卖家描述

卖家描述
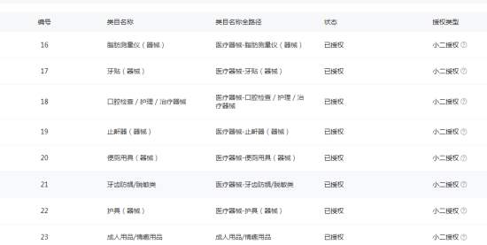
华中地区04年保健品及医药天猫旗舰店出售/转让,该店铺主营类目为保健品及医药,已开通医疗器械,成人用品情趣用品,计生用品,10,一般纳税人,优质店铺,本人出售,天猫店铺欢迎咨询
网店动态信息

宝贝与描述相符

卖家的服务态度

卖家的发货速度

交易流程

常见问题

- 同类型店铺推荐 -刷新换一批